Tesla запатентовала свою безумную идею — использовать лазеры вместо дворников
Компания Tesla запатентовала безумную разработку — лазерную установку для очистки лобового стекла автомобилей. Также изобретение позволит удалять мусор с солнечных панелей на крышах домов. Что это за изобретение и когда появится в автомобилях Tesla?
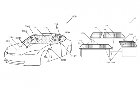
Tesla
, -. , , . , , . - . , . Tesla . , . , 2019 , . .
: , . , , , . , - .
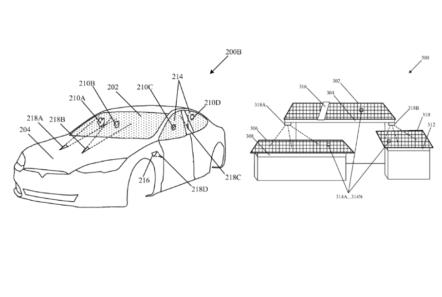
, . , . . , , . .
, Cybertruck . , Tesla , , . , , . , , .
, , Tesla . , , .
, -. , , . , , . - . , . Tesla . , . , 2019 , . .
Tesla
: , . , , , . , - .
, . , . . , , . .
, Cybertruck . , Tesla , , . , , . , , .
, , Tesla . , , .
Tesla SpaceX Telegram-, Tesla . , .
Tesla
, - , , . , .
, Tesla, . , . , . , , Cybertruck - . . , Cybertruck Tesla. , , .
.-, , .
, Tesla - . , . , Tesla -, .
Источник: "hi-news.ru"
Предыдущая статья
Носовой хрящ поможет восстанавливать суставы при остеоартрозе
Следующая статья
Итальянский физик-теоретик Карло Ровелли считает, что наша реальность – это «игра квантовых зеркал»
Подпишитесь
И будьте в курсе первыми!
И будьте в курсе первыми!
Комментарии
Минимальная длина комментария - 50 знаков. комментарии модерируются

