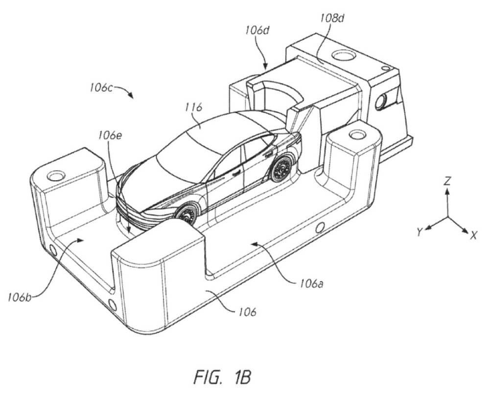
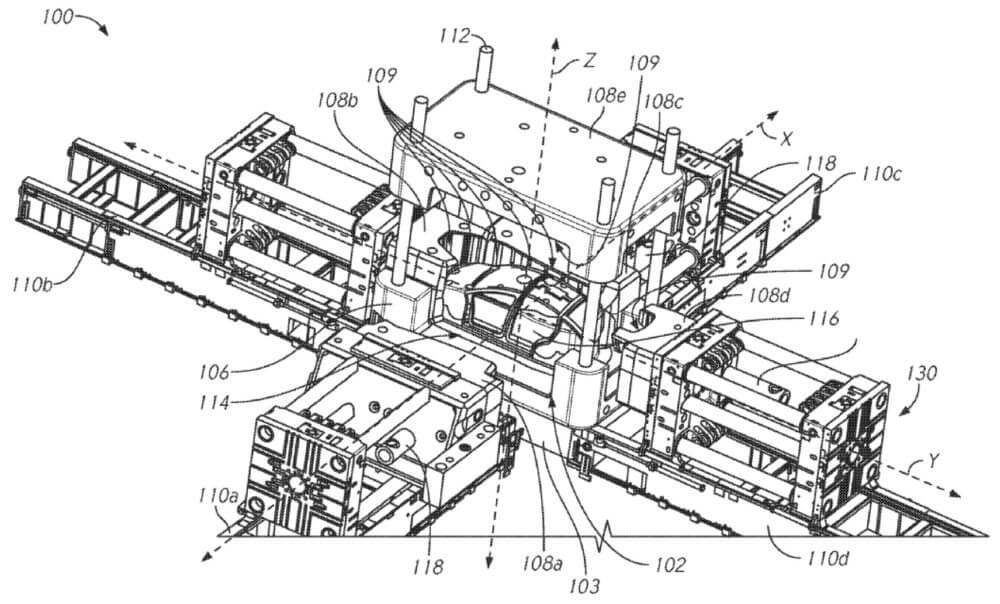
Илон Маск хочет отливать корпуса электромобилей Tesla целиком, а не собирать их по частям
Инженеры Tesla регулярно работают над различными улучшениями для того, чтобы автомобили этой компании стали еще более надежными, функциональными, а главное дешевыми в производстве (и соответственно более доступными). При этом, если не брать во внимание «начинку» авто, даже производство корпуса до
Tesla , , , ( ). , «» , . . , , .
?
Tesla Model Y.
. « ». Tesla :
, . . . . .
, ( ) , .
Tesla ?
, Gigafactory 3 . , . Model Y.
: Tesla .
Tesla . , Model S 3 , Model 3 1,5 . Model Y 100 . , — .
.
Источник: "hi-news.ru"
Предыдущая статья
SpaceX провела успешные испытания прототипа космического корабля для полетов на Марс
Следующая статья
Большой Адронный Коллайдер будет… обогревать дома
Подпишитесь
И будьте в курсе первыми!
И будьте в курсе первыми!
Комментарии
Минимальная длина комментария - 50 знаков. комментарии модерируются

